工業4.0時代,齒輪與機器人會擦出什么火花?
伴隨著經濟的快速增長,工業結構轉型升級的腳步也在加快。工業4.0時代,是利用信息化技術促進產業變革的時代,人體勞動力已經難以滿足企業發展的需求,工業機器人便成為制造行業的新寵。
今年九月,國內推出“醫護助理”智能機器人、上海將被打造成世界級智能機器人產業群,助推智能機器人行業井噴式增長……等資訊,足以證明國內機器人產業欣欣向榮的勢態。
工業機器人在機械手的固定程序的基礎上,通過自身的動力及智能程序完成非特定程序范圍的學習性任務和智能性操作。機器人系統的結構分為四部分:執行機構、驅動系統、控制系統、傳感系統。而齒輪被應用于結構中的執行機構——手部、腕部、基座部。
機器人的執行機構分為操作本體機構(類似人的手臂和手腕)、移動型本體結構(實現移動功能)。
(機器人的機械結構組成)
(機器人輪式行走機構)
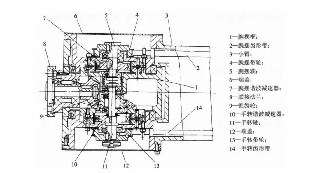
手部(本體機構)是最重要的執行機構,高精度齒輪的植入讓機械手定位更精準、微型齒輪的加入使運用更靈活。而移動部齒輪也起到了傳動的作用,像輪式機器人內部的驅動輪。
(弧焊機器人手腕結構圖)
(后輪驅動裝置機械傳動結構圖)
另外,近幾年的學術崛起,從實踐往理論反推也衍生出:搖桿式移動機器人的齒輪式差動機構研究、采用關節機器人的齒輪機床自動上料對齒方法的研究、基于漸開線球齒輪的機器人柔性手腕結構與運動分析等一系列研究。
預見未來,齒輪與機器人的結合將越來越緊密、貼切,而齒輪的運用會越來越簡單。iHF合發齒輪,歡迎咨詢。
iHF齒輪22年只做一件事精密齒輪制造—同步帶輪—同步帶,生產廠家標準件大量庫存當天發貨價格優質保障,集研發.生產.服務一體化,版權所有:http://m.dell-pc.org.cn轉載請注明出處
“推薦閱讀”
【責任編輯】:合發齒輪
- 工業4.0時代,齒輪與機器人會擦出什么火花?
- 齒輪加工技術以及裝備的發展趨勢分析(二)
- 齒輪加工技術以及裝備的發展趨勢分析(一)
- 加工磨齒余量是否會造成齒輪的不良影響?
- 什么是退火?退火條件是什么?齒輪廠家給你答案
- 廠家分享精密齒輪滲碳淬火方法
- 精密齒輪廠家論局部齒輪對行星減速機整體的影響
- 戳!行星減速機齒輪四大熱處理工藝
- iHF合發齒輪講解淬火對變形的影響
- 精密齒輪滲碳處理的種種
聯系iHF齒輪
18929357195
售后電話:0755-27746221
客服QQ:2850623673
郵箱:2850623673@qq.com
地址:深圳市龍華新區大浪創藝路16號安宏基工業園C棟



